大皖新闻讯1月30日上午,有网民注意到京东拍卖上的一条司法拍卖公告,标的物为一部iPhone6s手机,然而最终拍卖价格却“令人咋舌”——拍卖成交价格为226136.8元。

大皖新闻记者查阅发现,该涉刑案iphone6s手机1台(第一次拍卖)的公告由成都市锦江区人民法院于2024年1月11日16时发布。据公告中介绍,拍卖财产iphone6s手机1台评估价值为124元,起拍价为86.8元,保证金17元,加价幅度50元。公告中还对拍卖方式作出规定,本次拍卖为增价竞买。拍卖保留价即为起拍价,达到或超出起拍价即为有效应价;一人应买有效,二人以上应买价高者得。
此外,公告第九条还明确对悔拍作出重要提示:1.买受人只要未按期支付全部价款,即视为悔拍并有权裁定重新拍卖(即法院不接受延期付款申请)。重新拍卖时,原买受人不得参加竞买。拍卖成交后因买受人逾期未支付价款,根据《最高人民法院关于人民法院网络司法拍卖若干问题的规定》第二十四条之规定,悔拍后,买受人缴纳的保证金不予退还,依法用于支付拍卖产生的费用损失、弥补重新拍卖价款低于原拍卖价款的差价、抵冲本案被执行人的债务以及与拍卖财产相关的被执行人的债务。重新拍卖后,保证金数额不足以弥补两次拍卖之间的差价,由原买受人补齐差价,拒不补齐的,依法强制执行。2.根据《中华人民共和国民事诉讼法》第一百一十四条及《最高人民法院关于适用<中华人民共和国民事诉讼法>的解释》第一百八十七条之规定,对于在司法网拍中恶意抬价,扰乱司法拍卖秩序的买受人,人民法院可以对其罚款、拘留,构成犯罪的,依法追究刑事责任。

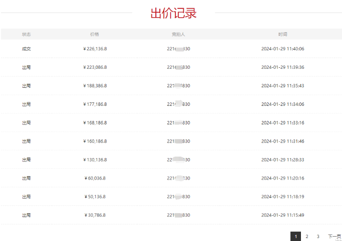
随后大皖新闻记者又查询了此次拍卖的出价记录,第一次出价时间发生在2024年1月29日上午10点05分,竞拍价格为86.8元。而在1月29日上午10点17分时,竞拍号为221***830的竞拍人出价136.8元,记者注意到正是该竞拍人最终以226136.8元成交了这台iPhone6s手机。然而令人不解的是,累计25条出价记录中,有22条出价均来自该竞拍人。记者注意到,出价记录中的前十次出价尚在可理解范围内,未超过1000元,然而此后竞拍号为221***830的竞拍人便开始不断加价,整个出价过程均发生在1月29日上午12点前,并最终定格在226136.8元。

大皖新闻记者又查询了此次拍卖的成交确认书,确认书中公示了拍卖竞价结果,包括买受人姓名:张某(证件类型:身份证,证件号码:****3414)通过竞买号221***830于2024年01月30日在成都市锦江区人民法院于京东网开展的“(刑):iphone6s手机1台”司法拍卖项目公开竞价中,以最高应价胜出。该标的物网络拍卖成交价格:¥226136.80(贰拾贰万陆仟壹佰叁拾陆圆捌角)。在网络拍卖中竞买成功的用户,必须依照标的物《竞买须知》、《竞买公告》要求,按时交付标的物网拍成交余款、办理相关手续。标的物最终成交以成都市锦江区人民法院出具拍卖成交裁定为准。

大皖新闻记者注意到,关于该涉案财产拍卖,成都市锦江区人民法院已委托四川旗标拍卖有限责任公司在拍卖期间对上述标的开展拍卖咨询、组织看样等网络司法拍卖辅助工作。1月30日上午,大皖新闻就此事联系到四川旗标拍卖有限责任公司,该公司一名工作人员告诉记者,“显示成交了,但后续怎么处置(标的物),需要看他(指买受人张某)本人和(锦江区)法院怎么处理,我们这边不清楚。”该工作人员表示,对于竞拍人的私人信息他们并不掌握,“委托方是法院那边,钱也是直接打到法院账户,他们(锦江区法院)会对这个事情的处理做出决策。”
1月30日上午,大皖新闻记者又拨通了拍卖公告上留下的举报监督电话进行了解,锦江区人民法院一工作人员告诉记者,“这是监督举报电话,具体的案件情况并不清楚,以我们法院最后的公告调查结果为准。”随后记者又致电锦江区人民法院询问是否有人前来交付标的物网拍成交余款、办理相关手续等,一工作人员表示他们也在调查中,“我们会把你的问题进行上报。”
大皖新闻记者孙召军
本文内容由互联网用户自发贡献,该文观点仅代表作者本人。如发现本站有涉嫌抄袭侵权/违法违规的内容,请发送邮件至 203304862@qq.com
本文链接:https://jinnalai.com/jingyan/509332.html
